常见问题

品牌代理商

功能简介

品牌代理商是平台的代理商通过预存款,拿到一定折扣的产品代理权,并从中赚取差价的一种零压货、全民代理的分销模式。


1.代理商操作


应用条件:

(1)必须要到渠道后台开通代理商功能(渠道开通功能操作,参考渠道后台操作说明)

(2):在手机个人中心申请代理商。


1.1.代理商设置

点击“品牌代理商”,然后如下图1所示:

1479366678847816.png

图1

如上图1所示,选择是否开启客户端个人中心代理商申请入口、客户端显示申请代理商折扣、编辑非代理商提示信息,点击“添加代理商级别”就可以进行设置代理商的级别,设置各级代理商价钱和代理折扣,一般价钱越高,折扣越大,编辑代理商协议,下拉菜单点击“保存提交”即可。


1.2. 代理商申请

手机关注后,点击进入到个人中心如下图2所示:

1479367150520699.png

图2

如上图2,点击“我的特权”弹出如下图3所示:

1479367489500188.png

图3

如上图3,点击“代理商”如下图4所示:

1479367517267230.png

图4

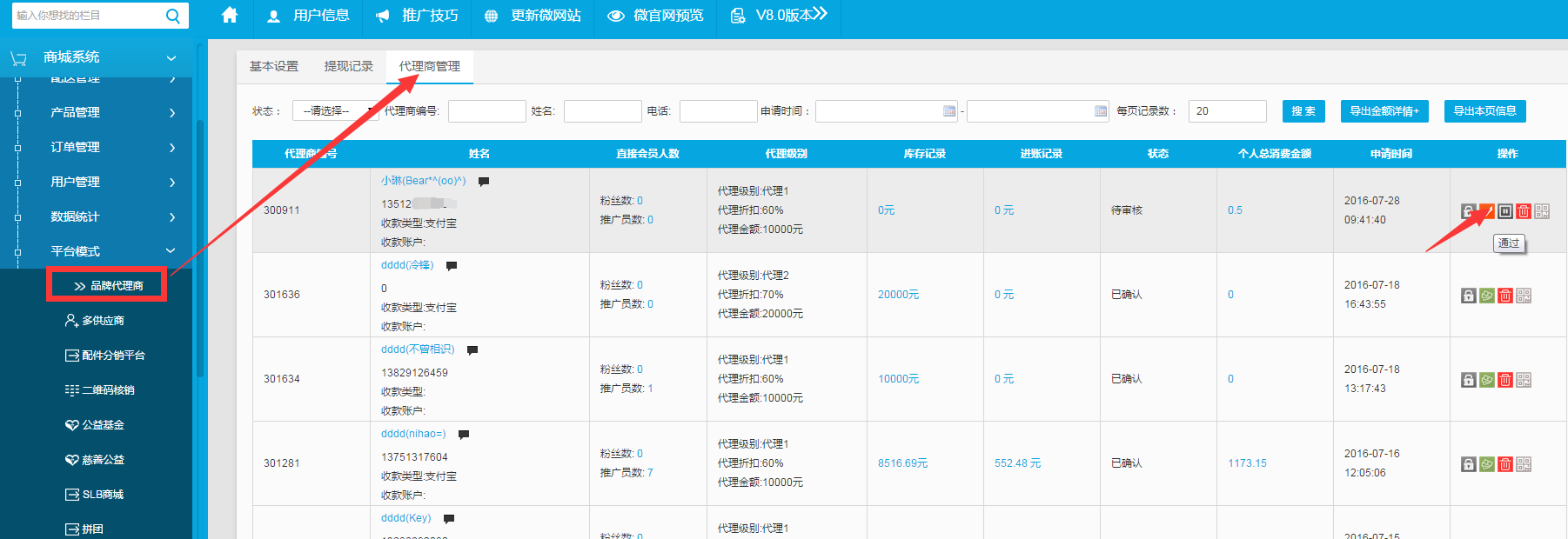
如上图4,选择代理级别,(注:要成为代理商的前提下,必须需要成为推广员,申请代理商必须线下付给商家代理商费用,之后商家在后台审核通过获得代理资格)然后点击“申请成为代理商”提示等待商家审核,商家在后台点击商城系统-平台模式-品牌代理商-代理商管理如下图5所示:

1479367680402851.png

图5

代理商线下付给商家代理款项后,商家点击“代理商管理”如上图所示,商家可以查看到代理商的编码、姓名、直推会员人数、代理商级别、库存记录、进账记录、状态、个人总消费金额、申请时间,可操作为代理商充值、重置密码和删除等,点击“通过”后,代理商可在个人中心我的特权内查看到,如下图6所示:

1479367770681686.png

图6

如上图6所示,显示已经成为了一级代理的身份

1479367863814534.png

图7

(代理商转账给商家的费用称为库存,代理商所推广的下线购买的产品按售价-推广员佣金入账,按代理折扣价扣库存,中间的差价就是代理商赚取的收益点击“充值”如下图8所示:

1479367968459445.png

图8

如上图8所示,输入给代理商充值的金额,然后点击“确定”如下图9所示:

1479368070274993.png

图9

如上图9所示,可以看到充值后的记录。


1.3. 代理商登录后台


代理商有自己独立的后台,可以查看订单和账户,或者申请提现等操作,代理商登陆账号即就是代理商编号, 密码默认为6个8(代理商登录后台的和供应商登录后台的操作是一样的)

代理商只需推广产品出去,发货都是由商家来发货,一旦发货,库存既减少,一旦粉丝退货,商家退货完成,库存即加回,订单确定完成,金额则加到代理商账号。代理商登录后台后如下图10所示:


订单管理

1479368265518797.png

图10

如上图10所示,可以查看到代理商的资料信息和个人的总订单、成交订单、成交金额、账户余额、库存余额、会员数量和推广数量基本情况。点击“订单管理”如下图11所示:

1479368355601637.png

图11

如上图11,在订单管理页面代理商可以查看自己直推下级推广员或者是粉丝购买商城产品的订单号进行查看和跟踪情况(注:若最高级管理员在渠道后台未开启多供应商模式,代理商就可以在后台自己进行发货)


财务管理-我的账号

在后台点击财务管理-我的账号如下图12所示:

1479368687884388.png

图12

如上图12所示,在我的账户里面可以修改代理商名称、提现账号(代理商申请提现方式有:支付宝、银行卡、财付通,在申请提现前,代理商需点击修改提现账号,把提现的账号设置好)、发货方式、查看账户余额、申请提现和将库存转换为余额,点击“账单明细”如下图13:


财务管理-账单明细

1479369071343398.png

图13

如上图13,在账单明细里面代理商可以订单的进账余额明细和剩余的库存余额,点击“库存明细”如下图14:


财务管理-库存明细

1479369324129567.png

图14

如上图14在库存明细里面商可以看到库存的入账和出账记录,点击“提现记录”如下图15所示:

财务管理-提现记录

1479369372408918.png

15

如上图15,在提现记录里面可以看到后台申请提现的记录。


1.4. 代理商推广出去的三种情况

例如代理商折扣为50%,三级分佣一级为10元,二级为6元,三级为4元。

1. 代理商直接推广出去,粉丝购买,如产品是100元,商家一发货,库存即减50元,商家将订单确定完成,100元即打到代理商户账号。

2. 代理商推广出去并非直接粉丝购买,而是经过3级推广员推广出去,粉丝购买,扣除推广员佣金10+6+4,产品100-20=80,代理商扣除库存同样扣除50元,商家将订单确定完成,80元进账到代理商余额,赚取的差价为80-50=30元。若是经过2级推广员推广出去,粉丝购买,扣除推广员佣金10元+6元,100-10-6=84元,入账84元,库存扣50元,赚取的差价为84-50=34元,同理,若是经常一级推广员推广出去,粉丝购买,即扣佣金10元,100-10=90元,进账90元,库存扣除50元,赚取的差价为90-50=40元。

3.如代理商库存用完,代理商身份不变,仍然可以拿代理折扣,订单完成后,库存会出现负数,这时商家可联系代理商提醒充值或余额转库存。


代理商操作说明完成,如有疑问请咨询在线客服。