常见问题

分销经纪人

分销经纪人简介


分销经纪人是一款独立的分销商品的功能,通过微信进行传播,分享后可以建立独立的分销上下级关系,由商家设置分佣级别,此处的分佣设置只针对于此功能模块和商城无关。推广出售商品后由商家线下结算佣金。此功能优势在于商家打破传统营销,由被动变主动,提高商品销量。


1.分销经纪人后台设置


客户登录后台如下图1所示:

1471422825612457.png

图1

如上图1,点击分销模块—分销经纪人—添加分销会员如下图2所示:

1471422832587340.png

图2

如上图2所示,输入标题、分享内容、输入总佣金比例(注:这里设置的总佣金比例根据商品售价*佣金比例=分佣金额,根据这个分佣金额针对于一二三级推广员进行分佣,分享可以建立关系,此关系只针对于此功能模块,与商城推广员关系无关)、设置三级分佣比例(注:这里的三级分佣设置原则为三级相加等于100%)设置活动的开始日期和截止日期、上传logo图片和背景图片(注:要按照图片的建议尺寸进行上传图片)下拉页面如下图3所示:

1471422836634445.png

图3

如上图3,输入活动规则然后点击“提交”如下图4所示:

1471422846513292.png

图4

如上图4所示,分销经纪人添加成功,然后我们把此功能制作成图文消息,并且设置关键词回复或者自定义菜单链接到手机端(操作步骤在微网系统时有讲解,此处不再重复说明)。


2.分销经纪人在手机端展示


2.1.注册账号


首先用户关注公众号,输入关键词发送,公众号弹出图文消息,如下图5所示:

1471422861525549.png

图5

如上图5,点击图文消息进入到分销经纪人登录页面,如下图6所示:

1471422874763576.png

图6

如上图6,点击“我要注册” 如下图 7所示:

1471422882842402.png

图7

如上图7所示,输入姓名、身份证号码、电话、登录密码后点击下方的红包注册按钮,系统跳转到如图8所示


2.2.推荐客户

1471422894931252.png

图8

如上图8,当粉丝成为分销会员点击“我要推荐”如下图9所示:

1471422904255062.png

图9

如上图9,输入被推荐人的姓名、手机号码如需要进行备注的可以编辑备注消息,点击“马上推荐”如下图10所示:

1471422912377170.png

图10

如上图10,点击“好”即可,页面跳转如上图11所示的页面,如想要推荐多个人,重复上图9、10步骤操作即可,推荐人数显示如下图11所示:

1471422919476804.png 

图11

 如上图11,点击推荐人数下面的数字,如下图12所示:

1471422928464900.png

                        

图12

 如上图12,在这里面可以查看到自己推荐人的推荐日期、姓名、跟踪情况和是否成为了经纪人(注:当自己推荐的人员在后台审核之后并成功成交,则他的上线会得到一级佣金奖励,当他的下线成为了经纪人后他再推荐其它用户参与,用户成交之后他就会得到一级佣金而他的上线则是拿二级佣金)如下图13所示:


2.3.我的佣金

1471422938855221.png

图13

如上图13,在个人中心页面就可以查看到个人的佣金总额,点击“ 我的奖金”如下图14所示:

1471422944592138.png 

图14

如上图14所示,此页面可以查看到已经完成成交的客户,以及所获得的佣金。如上图13所示,点击“我的客户”则会如下图15所示:

1471422954151058.png

图15

如上图15所示,此页面可查看所有推荐的客户的跟踪情况以及是否成交、是否成为了经纪人,了解自己发展的客户,一目了然。


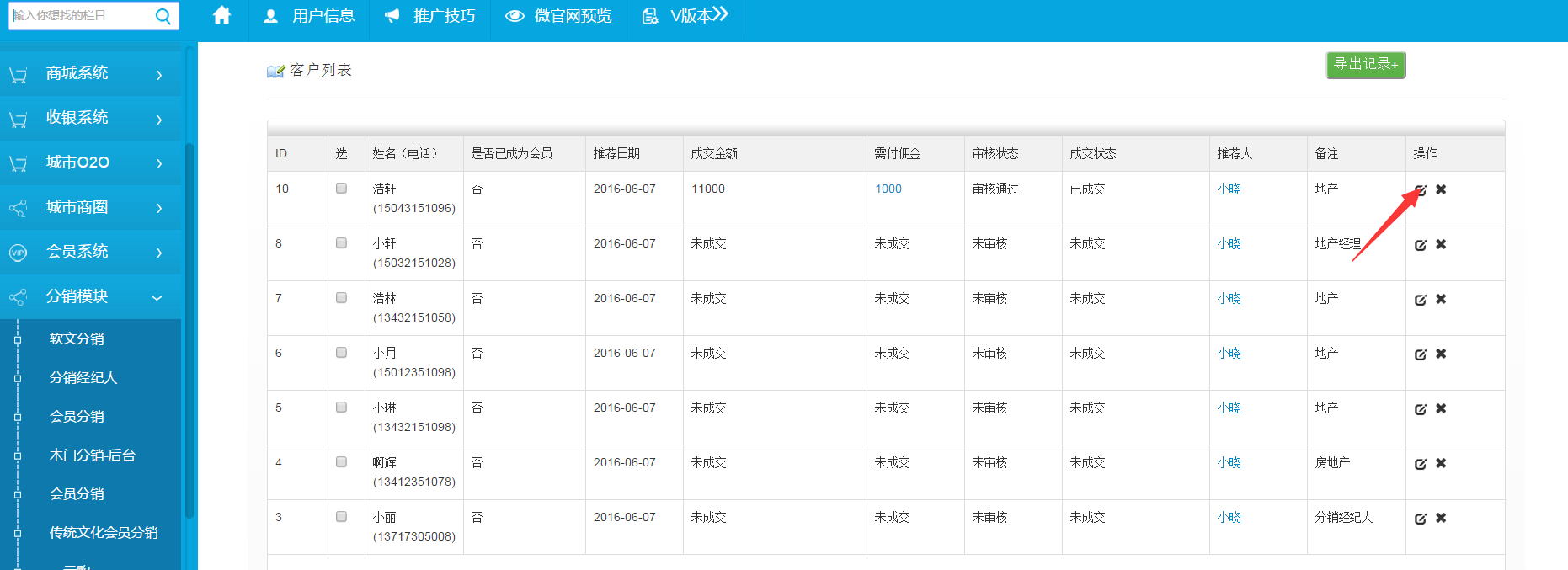
3.后台审核


用户在手机端注册成为会员后进行推荐客户,商家在后台进行审核,查看分销会员列表,如图16所示

1471422962763384.png

图16

如上图16,点击客户下面的数字如下图17所示:

1471422967320632.png

图17

如上图17,点击“编辑”按钮如下图18所示:

1471422975920973.png

图18

如上图18,选择一个审核状态,点击“审核通过”(注:如果选择的是无效推荐,可以在反馈里面编辑无效推荐原因或意见)如下图19所示:

1471422980280594.png

图19


4.核算佣金


如上图19所示,审核状态处选择“审核通过”,选择的是“已成交”输入首次成交的总金额(注:平台审核此客户线下交易金额)点击“提交”如下图20所示:

1471422985939749.png

图20

如上图20所示,当推荐的客户,通过管理员后台审核通过并且完成成交之后,他的上级则就可以获得一笔佣金(佣金计算方法:总成交金额×总佣金比例×一级/二级/三级)如上图8总成交的金额是10000,也就是他的上级可以拿到的佣金是10000×20%×50%=1000元,以此类推。点击需付佣金金额,跳转页面如图21所示

1471422991727670.png

图21

如上图21所示,此页面可以查看这笔订单的分佣情况,(注:点击“删除”按钮则就会在个人中心里面就会显示不到这笔成交金额的一个分佣情况。)返回上一页面,如下图22所示:

1471423011685922.png

图22

如上图22所示,当客户首次成交后,继续进行下一笔成交可以点击“编辑”按钮如下图23所示:

1471423021351129.png

图23

输入继续成交金额,如下图24所示:

1471423029633604.png

图24

如上图24,点击需付佣金的金额如下图25所示:

1471423038517732.png

图25

如上图25,在这里可以查看到上线可获得的佣金奖励和推荐金额(注:如是继续成交的客户,佣金计算方法数用继续成交的金额×总佣金比例×一/二/三级的佣金比例,客户所得分佣由平台线下支付)


分销经纪人的操作说明完成,如有疑问可咨询在线客服。