常见问题

区域代理

功能简介:

平台运营者根据推广员的业绩情况给予其申请区域代理的权限,推广员达到条件后,可以向平台运营者申请相应级别的区域代理权,由平台运营者审核和按实际情况分配其管辖的区域给该推广员,推广员拥有其所在区域代理权和拥有一定比例的产品利润奖励。



1. 区域团队功能设置

在后台点击“商城系统”弹出下面功能菜单如下图1所示:

1479881875564818.png

图1

如上图1,点击“奖励模式”如下图2所示:

1479882037732847.png

图2

如上图2,点击“区域代理”如下图3所示:

1479882128412840.png

图3

如上图3,在基本设置内开启“区域奖励”,“客户端个人中心开启条件升级”(指达到“区域团队奖励设置”的条件就可以在手机端申请区域代理),是否开启区域自定义名称(系统默认的名称为省代、市代、区代,开启后可自定义修改名称)和是否开启自定义区域(开启后商家还可除省代、市代、区代以外再定义一个区域,如某某学校或某某工厂),设置“团队总奖励比例”(注:如果团队奖励和股东奖励之和为1,则推广员无分佣佣金)可查看各级奖励分佣比例,设置区域奖励各级分佣比例和准入条件下拉菜单如下图4所示:

1479882197807594.png

4

如上图所示,首先设置分佣比例,设置原则为:团队奖励总佣金比例不能大于1(商家可根据区域的订单多少或者区域面积大小来定义,如省代所包括的地区较大人口较多订单也相对较多,这时我们可设置省代的分佣比例相对较低),可自定义区域名称,设置准入条件(商家可以自由搭配要开启哪些升级条件并设置相应的身份和代数)分别可开启6个条件:1.直推人数(即直属下线,且需设置直属下线达到所有分销模式中的其中一个身份即可 )、2.团队人数(即设置推广代数内,推广代数内人员达到其中的某个身份,然后所有推广人数之和即为团队人数)、3.团队订单数(即设置的推广代数内,能得到分佣的订单也就是指跟自己有利益关系的订单)、4.团队销售额(即设置的推广代数内,有利益关系的的团队销售金额)、5.个人累计消费、6.团队直推销售额(即直推下线的销售金额,且上线能得到佣金的销售额 ),所开启的条件需同时满足,下拉菜单如下图5所示:

1479882266618150.png

图5

如上图5,编辑区域团队奖励和区域代理规则,然后点击“提交保存”即可。


2.团队奖励佣金


2.1.推广员佣金与区域团队奖励关系

如果商家将出售一件商品利润为100元(售价-成本=利润),总分佣比例为0.2,那么20元用于分佣,总佣金划分为2份,一份给团队奖励,另一份给三级分佣。如商家设定团队奖励为0.2,三级佣金比例为1-0.2=0.8,那么三级分佣的总佣金为:100*0.2*0.8=16元,团队奖励为:100*0.2*0.2=4元。


2.2.团队奖励佣金

团队奖励计算公式:100(产品现价-成本价)×0.3(基本设置总佣金比例)×0.2(团队奖励总佣金比例)×区代/市代/省代/自定义区域。(注:区代、市代、省代、自定义区域设置比例相加总和不能超于“1”


2.3.无限极

无限极奖励在商家未开启股东分红奖励时,团队奖励内才有无限极奖励。商家设定个人消费达到一定金额,即可得到无限极奖励身份,下级推广员无论多少级只要消费就能得到无限极奖励。如一条线上有多个无限极奖励身份,即捉取离得最近的推广员得无限极奖励。(此奖励不是以收货地址为导向,而是以一条线上来算。)

无限极佣金计算方式:

100(产品现价-成本价)×0.3(总佣金比例)×0.2(团队奖励总佣金比例)×无限极奖励比例(1-省、市、区,自定义)。


2.4.计算佣金

佣金计算原则:以收货地址为导向

计算方式:

100(产品现价-成本价)×0.3(总佣金比例)×0.2(团队奖励总佣金比例)×区域各级奖励比例

例如:一件产品价格100,成本60,总佣金比例0.3,团队总佣金比例0.2,省级佣金奖励比例0.5,市级佣金奖励比例0.2,区级佣金奖励比例0.1。

所得佣金:

省级代理:(100-60)×0.3×0.2×0.5=1.2(元)

市级代理:(100-60)×0.3×0.2×0.2=0.48(元)

区级代理:(100-60)×0.3×0.2×0.1=0.24(元)


3.申请区域团队特权


3.1.推广员申请

推广员达到团队区域奖励所设的条件后(如商家在后台所设置的直推人数、团队人数、团队订单数、团队销售额、个人累积消费和团队直推销售额条件)进入到商城个人中心拉到最底部如下图6

1479882628622885.png

图6

如上图6,点击“我的特权”如下图7所示:

1479882752531769.png

图7

如上图7,点击“区域代理”如下图8所示:

1479882847472014.png

图8

如上图8,推广员可查看到升级各个代理级别的升级条件、区域规则以及个人的进度情况,当推广员达到了可升级某个代理身份级别的时候,可点击下方“升级”按钮,如下图9:

1479882953364536.png

图9

如上图9所示,填写区域代理的申请资料,阅读区域代理团队协议后并勾选协议,点“提交申请”后如下图10所示:

1479883036832101.png

图10

如上图10,就会提示“审核中”的状态。


3.2. 商家后台审核

在后台点击商城系统-奖励模式-区域代理如下图11所示:

1479883171775642.png

11

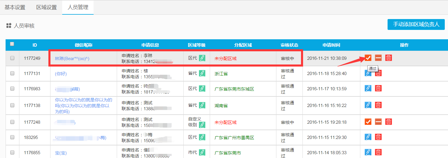
如上图,点击“人员管理”如下图12所示:

1479883242142924.png

图12

如上图12,选择申请人点击“通过”按扭弹出对话框如下图13所示:

1479883328550649.png


图13

如上图13,点击“确定”如下图14所示:

1479883383863806.png

图14

点击“确定”如下图15所示:


3.3. 分配区域

1479883496704304.png

图15

如上图15,当推广员申请后确定因只达到区级别默认为从区级别开始,但如果商家逢调规划,也可以给这个推广员选择成为省级或市级代理。点区域等级,然后分配区域最后点“提交”按扭,如下图16:

1479883593888348.png

图16

如上图16,在区域设置里面商家可以查看到不同区域所对接的负责人。


3.4. 一个人同时拥有多个区域

若某个推广员他所负责的区域表现得很好,还想负责多管理一个区域,他可以和商家进行协商,然后商家在后台手动添加(注:每个区域只能对接一个负责人,但一个人可以同时拥有多个区域)如下图17所示:

1479883737526172.png

图17

如上图17,选择要进行分配的区域,点击“编辑区域负责人”如下图18:

1479884106706849.png

图18

如上图18所示,选择此区域的负责人,最后点击“提交”按钮如下图19:

1479884169281766.png

图19

如上图说明商家添加区域已成功。


3.5. 撤销特权

若不想让此推广员做市级代理,可点击“区域设置”如下图20所示:

1479884414849805.png

图20

如上图20,点击“撤销负责人”如下图21所示:

1479884568506423.png

图21

如上图,点击“确定”如下图22所示:

1479884634871410.png

图22

如上图22所示,说明撤销成功,然后商家可以重新选择此区域的负责人。


3.6. 推广员前台显示

当商家在后台审核通过后,推广员进入到商城个人中心如下图23所示:

1479884732920791.png

图23

如上图23所示,会显示此推广员已成为了市级代理身份和查看到自己所代理的区域。(也就是说当粉丝在商城里面购买产品的时候所填写的收货地址是自己代理的区域,那么此粉丝就可以享受区域代理相应级别的奖励)

 

商城区域代理操作说明完成,如有疑问可咨询在线客服。