1.配送管理后台设置
1.1.配送设置
商家登录后台,点击商城系统--配送管理-配送设置如下图1所示:
图1
如上图1所示,选择是否开启快递、自提、平台供应商虚拟发货和供应商虚拟发货,如果要开启,点击开启按钮(注:如果开启了平台和代理商虚拟发货,商家就不用在后台添加一个虚拟发货的物流公司,当粉丝下单购买了商家的虚拟产品时,商家在订单管理-待发货里面就可以直接选择虚拟发货)然后点击“提交”即可。
图2
如上图2所示,点击“送货时间”如下图3所示:
图3
如上图3所示,点击“添加送货时间”如设置9:00-18:00安排发货,那么每天18:00以后下的单,第二天发货,如下图4所示:
图4
如上图4所示,输入快递送货时间,点击“提交”如下图5所示:
图5
如上图5所示,说明添加配送时间已成功,点击“物流快递”如下图6所示:
图6
如上图6所示,查看提示注意:优先使用产品的快递模板,若产品无设置快递模板,则使用公用快递模板。(也就是说商家在此处添加了公用模板,当他在添加上传产品时没有选择所对应的运费模板,则会直接使用公用模板)
顺丰进口物流设置:是主要针对一些进口产品,方便商家了解到当前物流的情况(商家需联系快递公司索要相应信息并填写上去,方便后续查看)点击“物流公司设置”如下图7所示:
图7
如上图7所示,点击“新建物流公司”如下图8所示:
图8
如上图8所示,输入物流公司名称,点击“添加运单模板”(商家如果在后台上进行添加运单模板则可以关联打印机打印快递单)如下图9所示:
图9
如上图9所示,选择物流公司、输入快递单尺寸、上传快递模板和选择打印项(把收货人-姓名,地址,电话,发货人-姓名,地址,电话拖动到底图相对应的位置),点击“确定”如下图10所示:
图10
如上图10所示,点击“确定”如下图11所示:
图11
如上图11所示,输入物流公司名称,选择要关联打印模板,点击“提交”如下图12所示:
图12
如上图12所示,点击“启用此物流公司”(注:只能启用一个物流公司)如下图13所示:
图13
如上图13所示,点击“确认”如下图14所示:
图14
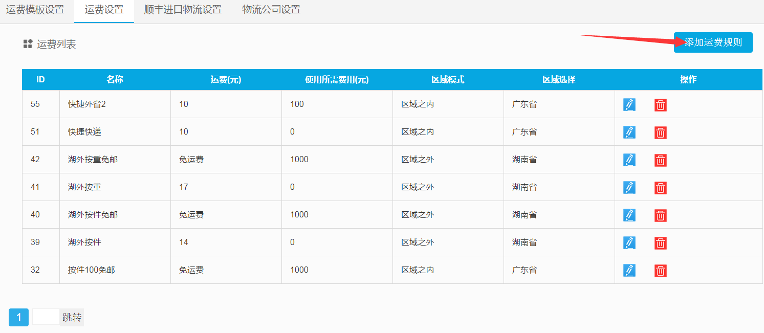
如上图14所示,点击“运费设置”如下图15所示:
图15
如上图15所示,点击“添加运费规则”如下图16所示:
场景一:(如商家想设置偏远地区邮费,一件12元,续件18元,五件免邮,不限制快递使用金额)那么运费规则设置如下图16所示:
图16
如上图16所示,选择区域模式、选择区域、编辑运费规则名称、选择计价方式(可选择按件数或者是按重量)如上图选择的是按件数,设置快递件数和配送费用、编辑选择此快递所需金额(如上图所示也就是说,粉丝的下单地址为内蒙古、西藏、新疆地区的购买一件产品则收取12元邮费,购买2件则收取18元邮费,如购买五件,则免邮,无购买金额限制)然后点击“提交”即可。
场景二(如商家想设置除偏远地区以外的所有地区都免邮,但是消费需要达到88元,)那么运费规则设置如下图17所示:
图17
如上图17所示,(也就是说,如果粉丝下单地址在内蒙、西藏、新疆以外的地区的,购买产品金额达到88元,则免邮)
场景三(如商家想设置广东省地区购买所有商品都免邮)那么运费规则设置如下图18所示:
图18
如上图18所示,(如下单地址为广东省地区的所有订单都免收邮费)注:计价方式和添加商品时选择的邮费计费方式需一致,否则下单时系统捉取不到对应的快递模板,会显示无配送方式。按重量计费的规则和件数的逻辑是一样的。提交后返回运费列表页面,如图19所示:
图19
如上图19所示,点击“运费模板设置”如下图20所示:

图20
如上图20,点击“新建模板”如下图21所示:

图21
如上图21所示,输入快递模板名称和勾选快递模板,点击“提交”如下图22所示:

图22
如上图22所示,点击“启用此模板”(公用快递模板只能启用一个)如下图23所示:
图23
如上图23所示,点击“确认”即可。(用户就可以在手机端商城内进行正常下单和支付)
图24
如上图24,点击“退货地址”如下图25所示:
图25
如上图25所示,选择退货地址所在的省、市、区,输入详情地址、邮政编码、姓名、联系电话(手机)和座机、如需要编辑备注直接在文本框上进行备注,点击“提交”即可。

图26
如上图26所示,提示保存成功,然后点击“确定”即可。(注:当粉丝购买产品发生退换货时,商家在后台同意粉丝的退换货请求后,此退货地址就会发送到粉丝公众号内)
注:如粉丝购买时,快递公用模板有多个快递规则符合,这时系统自动按邮费较低的规则来计算快递费用。供应商产品是捉取供应商后台添加的运费模板的,模板添加操作流程和商城的一致。
商城系统配送管理操作流程说明完成,如有疑问请联系在线客服