常见问题

信息发布平台

1. 信息发布平台后台设置:


登录后台,点击互动模块-如下图1所示:

1469435090593205.png图1

如上图1,下拉菜单如下图2所示:


1.1. 基本信息管理


1469435151390457.png图2

点击“信息发布平台”如上图2所示,输入平台名称、保证金(注:这里设置的保证金是当粉丝达到成为工程师的条件后在手机端上申请成为工程师时所需要交给平台的保证金)

设置年费(注:如上图2设置的年费500是指当工程师申请的时间满1年到期后就会在保证金里面直接扣除年费500元,当保证金里钱扣完后,需要在手机端上进行重新申请,否则将会成为普通用户。)

选择会员卡(注:这张会员卡是在发布任务的时候,需要给到的赏金都是要在此张会员卡里面进行扣除余额)上传广告图片、复制广告链接,勾选工程师是否可见报价如选择“是”(是指当A工程师在报价时,别的工程师也可以看到A工程师所报的价格)输入工程师重命名和平台收取的费用率。点击“提交”如下图3所示:

1469435208448343.png图3

如上图3,点击“添加类型”如下图4所示:

1469435240186327.png图4

如上图4,输入信息发布类型(最低添加5个)如需要添加多几个类型点击“添加”按钮即可,英文翻译:把类型名称翻译成英文填写上去即可。点击“提交”如下图5所示:

1469435272682550.png图5

如上图5,点击“区域管理”如下图6所示:

1469435303916075.png图6

点击“添加区域”如下图7所示:

1469435334507088.png图7

如上图7,输入区域名称,如想要添加多个区域点击“添加”即可,点击“提交”如下图8所示:


1.2. 用户管理:


1469435378461370.png图8

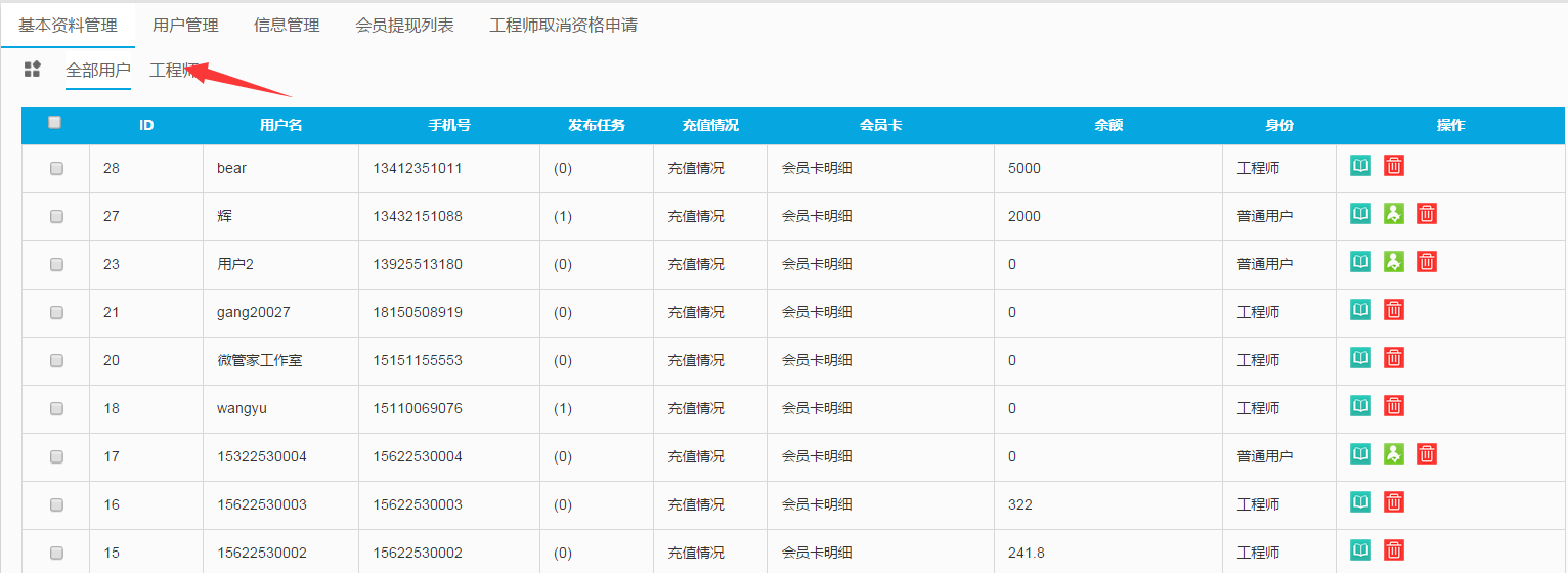
如上图,点击“用户管理”如下图9所示:

1469435407974106.png图9

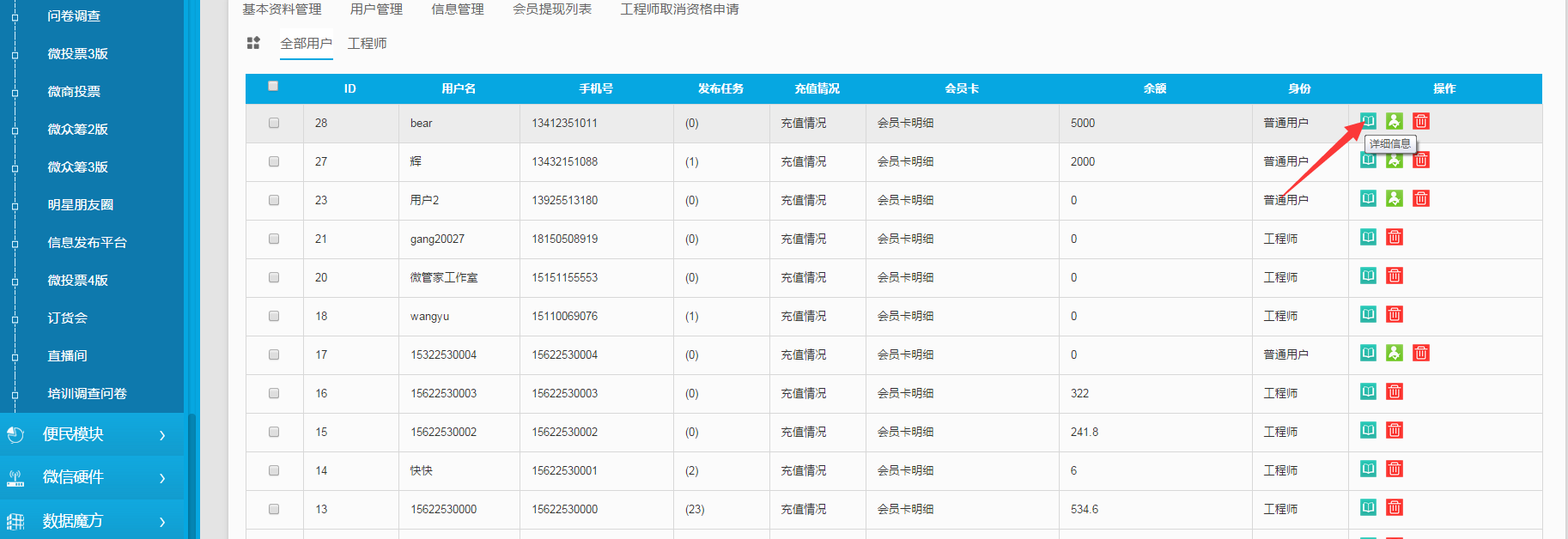
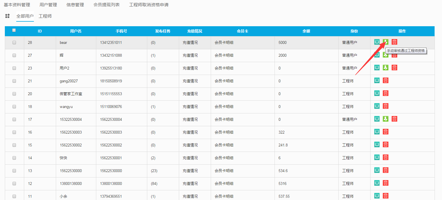
如上图9所示,在这里可以查看到所有用户名的相关资料以及普通用户申请工程师这里的余额是指会员卡里面的余额点击“详细信息”如下图10所示:

1469435443195478.png图10

如上图10,点击“编辑”就会如下图11所示:

1469435534114133.png

图11

如上图11,输入需要修改的用户名称、联系电话、新密码、会员卡密码如需要备注可以直接编辑备注然后点击“提交”即可,如下图12所示:

1469435592258895.png图12

点击“手动审核通过工程师资格”如下图13所示:

1469435622430050.png图13

如上图,选择用户名,点击发布任务里面的数量如下图14所示:

1469435649689797.png图14

如上图14,点击“详情信息”如下图15所示:

1469435675192687.png图15

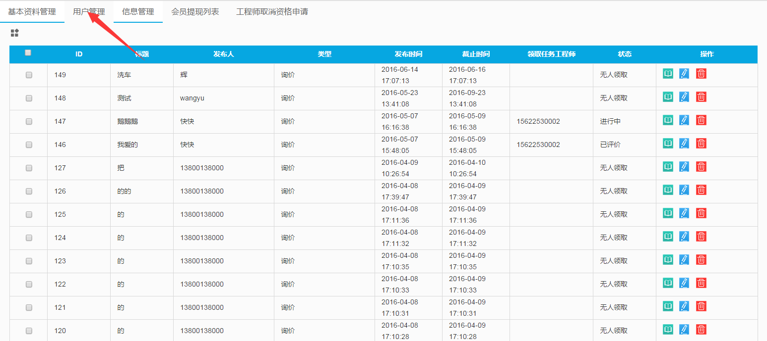
如上图15,就可以查看到工程师/普通用户所发布的任务详情,再次点击“详情信息”如下图16所示:

 

1469435703864036.png图16

点击“编辑”按钮如下图17所示:

1469435730182213.png图17

如上图17,在这里可以修改发布人所发布的相关资料,点击“提交”就会跳转到如下图18所示的页面:

1469435767585910.png图18

点击“用户管理”如下图19所示:

1469435793527374.png图19

如上图19,点击“充值情况”如下图20所示:

1469435820874267.png图20

如上图20,在这里可以查看到个人用户进行充值的情况,点击“返回”如下图21所示:

1469435894977715.png图21

点击“会员卡明细”如下图22所示:

1469435920120461.png图22

如上图22所示,在这里可以查看到会员卡消费的详细记录情况,点击“返回”如下图23所示:

1469435946851077.png图23

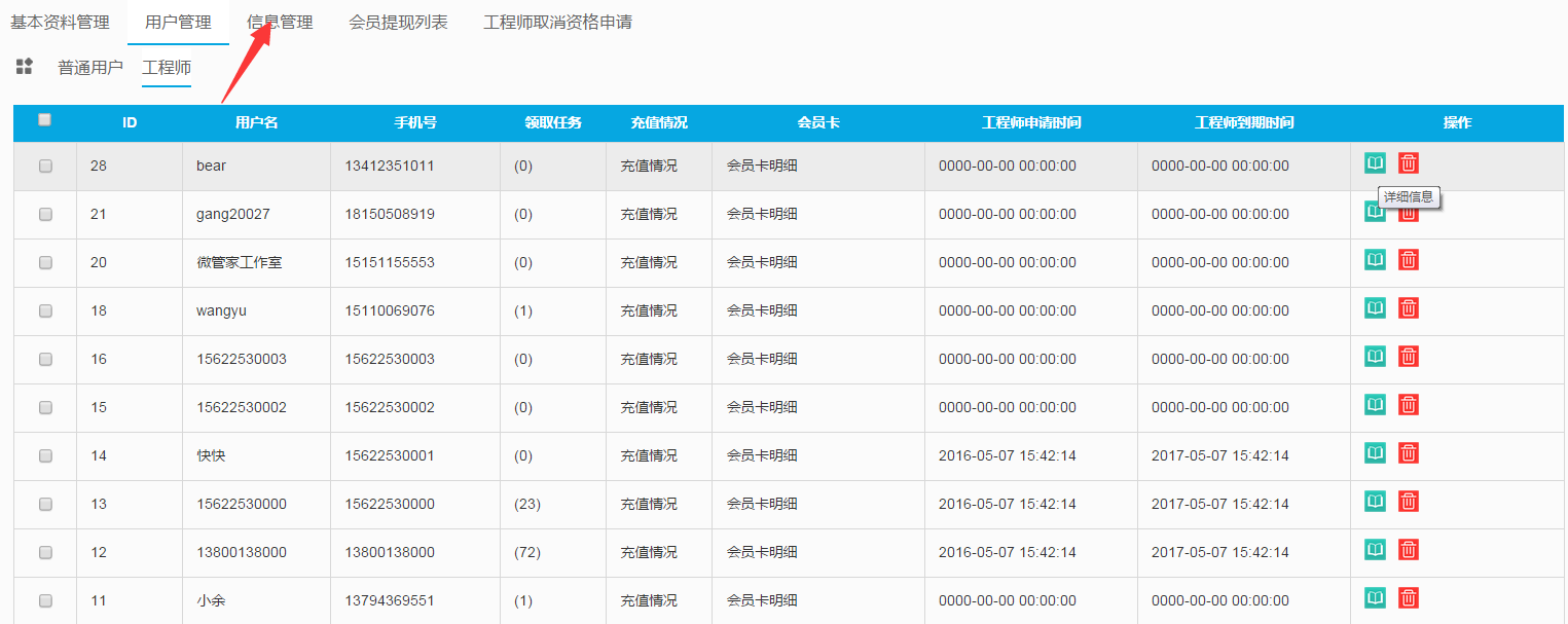
如上图23,点击“工程师”如下图24所示:

1469435971777029.png图24

如上图24,在这里就可以查看到所有工程师的用户名、手机号码、领取任务的记录详情、充值情况和会员卡明细,以及工程师申请时间和到期时间,点击“信息管理”如下图25所示:


1.3. 信息管理


1469436020947321.png图25

如上图25,在这里可以查看到发布人所发布的任务时间和截止时间,以及工程师领取任务的状态记录的情况。


1.4. 会员卡体现列表


如上图25所示,点击“会员卡体现列表”如下图26所示:

1469436075767906.png图26

如上图26,点击“操作”如下图27所示:

1469436103177280.png图27

点击“确认打款”如下图28所示:

1469436132538917.png图28

如上图28,点击“确认”后,如下图29所示:

1469436162258077.png图29

如上图29,点击“确认”如下图30所示:

1469436193437588.png图30

如上图30,所示说明提现成功,这笔钱就会直接到客户的微信零钱上,就会显示“已确认”的状态。点击“工程师取消资格申请”就会如下图31所示:

1469436288409507.png图31

如上图31所示,在这里可以查看到工程师取消资格申请的用户名,以及申请时间。注:左上角提示商家受理后需要退款给工程师的金额为1500元,也就是说当管理员同意工程师的取消资格申请后需要联系此工程师并线下打款1500元。(退款金额的计算公式:保证金-年费=需要退款的金额,比如后台设置的保证金是2000元,年费是500元,也就是2000-500=1500元)点击“更改状态”如下图32所示:

1469436315293157.png图32

如上图32,就会温馨提示,首先要联系用户,线下打款后,才修改状态。点击“确认”如下图33所示:

1469436344654457.png图33

点击“申请成功”如下图34所示:

1469436370170998.png图34

点击“提交”如下图35所示:

1469436396659208.png 图35

如上图35所示,说明工程师取消资格申请已成功。在后台把此功能编辑好后,把此功能做成图文消息链接到关键词回复或者自定义菜单即可,下面是以把功能链接到自定义菜单的操作说明为例。


2. 在手机端所示:


粉丝关注公众号进入公众号如下图36所示:

                      

1469436445868971.png

图36

如上图36,点击“微商城”弹出下面子菜单,点击“消息发布平台”如下图37所示:


2.1. 注册账号


                      

1469436503824511.png

图37

如上图37,点击“我的”如下图38所示:

                      

1469436533372687.png

38

 如上图38,点击“注册”按钮,如下图39所示:

                   

1469436564752053.png

39

如上图39所示,输入用户名、手机号码、选择性别、输入账号密码和确认密码,点击“下一步”如下图40所示:

                      

1469436593182989.png

图40

如上图40所示,选择一个区域,然后点击“下一步”如下图41所示:

                      

1469436711678756.png

41

如上图41,设置会员卡密码,然后点击“确认”如下图42所示:

                      

1469436742851187.png

图42

如上图42,点击“登陆”就会进入到个人中心的页面,如下图43所示:

                      

1469436784467917.png

图43

如上图43,就会锁定的是你现在使用的微信头像并不能进行修改头像。

个人资料:

如上图43,点击“个人资料”如下图44所示:

              

1469436874552843.png

图44

如上图44,点击“修改密码”如下图45所示:

  

1469436909604234.png

图45

如上图45,输入旧密码、新密码和确认密码,然后点击“保存”如下图46所示:

  

1469436948499399.png

图46

如上图46,点击“后退”就会如下图47所示:


2.1.1. 发布赏金任务:


  

1469436986763958.png

图47

如上图47,点击“发布任务”如下图48所示:

                   

1469437018311116.png

图48

如上图48所示,输入发布的标题、上传图片、编辑内容描述,设置期限(这里的期限是指发布此任务的有效天数)选择赏金或者询价(注:如果选择的是赏金则发布人就可以自己设置此任务的定价是多少,若选择的是询价则工程师就可以点击进行任务详情进行询价,并输入自己的报价)点击“下一步”如下图49所示:

         

1469437053179532.png

图49

如上图49,在这里就可以查看到此时用户的会员卡卡号和会员余额,输入悬赏金额点击“发布”(注:这里的悬赏金额是当工程师完成任务,等待发布人进行验收,双方互相评价后就会显示此任务已完成的状态,这笔钱就会自动到工程师所绑定的会员卡上)如下图50所示:

                 

1469437083961525.png

图50

如上图50,发布人在这里面就会查看到自己所发布的任务和此任务领取的情况,如想要修改定价,可点击“重新定价”如下图51所示:

     

1469437156317391.png

图51

输入重新定价,这里的需支付是指还需要支付的金额(当用户发布任务后就会在公众号里面收到会员卡余额变动的消息提示),点击“发布”如下图52所示:

 

1469437183998616.png

图52

如上图52所示,说明重新定价已成功,返回到公众号页面如下图53所示:

                  

1469437212103425.png

图53

当工程师在后台领取任务后,发布人就会在公众号首页收到任务被领取的信息提示,如上图53所示: